享界汽车披露恶意测试事件,一汽-大众旗下小摩互娱被曝光

来源:爱集微 #享界汽车# #小摩互娱# #麋鹿测试#
4253

3月29日,享界汽车法务部发布官方声明,披露近期网络上大量传播的享界S9“麋鹿测试”视频存在恶意操控行为,并非专业机构按照国家标准开展的“麋鹿测试”。这些视频经过刻意传播和关联抹黑,严重误导了社会公众,侵犯了享界汽车的合法权益。界汽车法务部同时宣布已对涉嫌商业诋毁的小摩互娱MCN机构及其旗下账号等众多诋毁账号依法采取维权行动。

经了解,此前一家名为“小摩互娱”的MCN机构在发布的享界S9麋鹿测试视频中,不仅剑指享界S9“大幅甩尾、疑似失控”以凸显奥迪A6L,还通过P水印方式误导公众该视频为汽车之家出品。

事实上,无辜涉事方汽车之家已于3月27日辟谣:近期网络上广泛流传的相关测试内容并非由其制作出品。

享界汽车法务部在声明中强调,享界S9系列车型始终坚持严苛安全与操控标准。经中汽中心权威认证,享界S9麋鹿测试成绩达到84.1km/h,享界S9T麋鹿测试成绩达到83.3km/h,均处于中大型豪华轿车领先水平。这一数据充分证明了享界S9系列车型在安全与操控方面的卓越表现。

享界汽车法务部表示,已固定相关证据,并对涉嫌商业诋毁的小摩互娱MCN机构及其旗下账号等众多诋毁账号依法采取维权行动。公司将坚决追究造谣、传谣主体的法律责任,维护品牌声誉与用户权益。

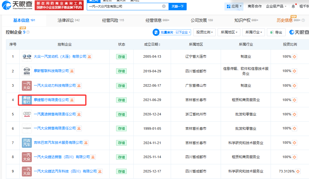
根据长春光华学院披露信息,小摩互娱MCN部长王洋曾明确指出,小摩互娱隶属于一汽-大众,是其旗下专注于品牌推广与电商运营的核心业务板块。

小摩互娱MCN作为一汽-大众旗下专注于品牌推广与电商运营的核心业务板块,深耕汽车新零售模式探索、线上营销矩阵搭建、直播电商运营等关键领域。小摩互娱的实际运营主体同时与一汽-大众旗下的出行/新媒体平台摩捷智行深度绑定。

责编: 邓文标
来源:爱集微 #享界汽车# #小摩互娱# #麋鹿测试#
THE END

*此内容为集微网原创,著作权归集微网所有,爱集微,爱原创

关闭
加载

PDF 加载中...