天眼查显示,维信诺科技股份有限公司“显示面板以及测试方法”专利公布,申请公布日为2025年3月21日,申请公布号为CN119668432A。

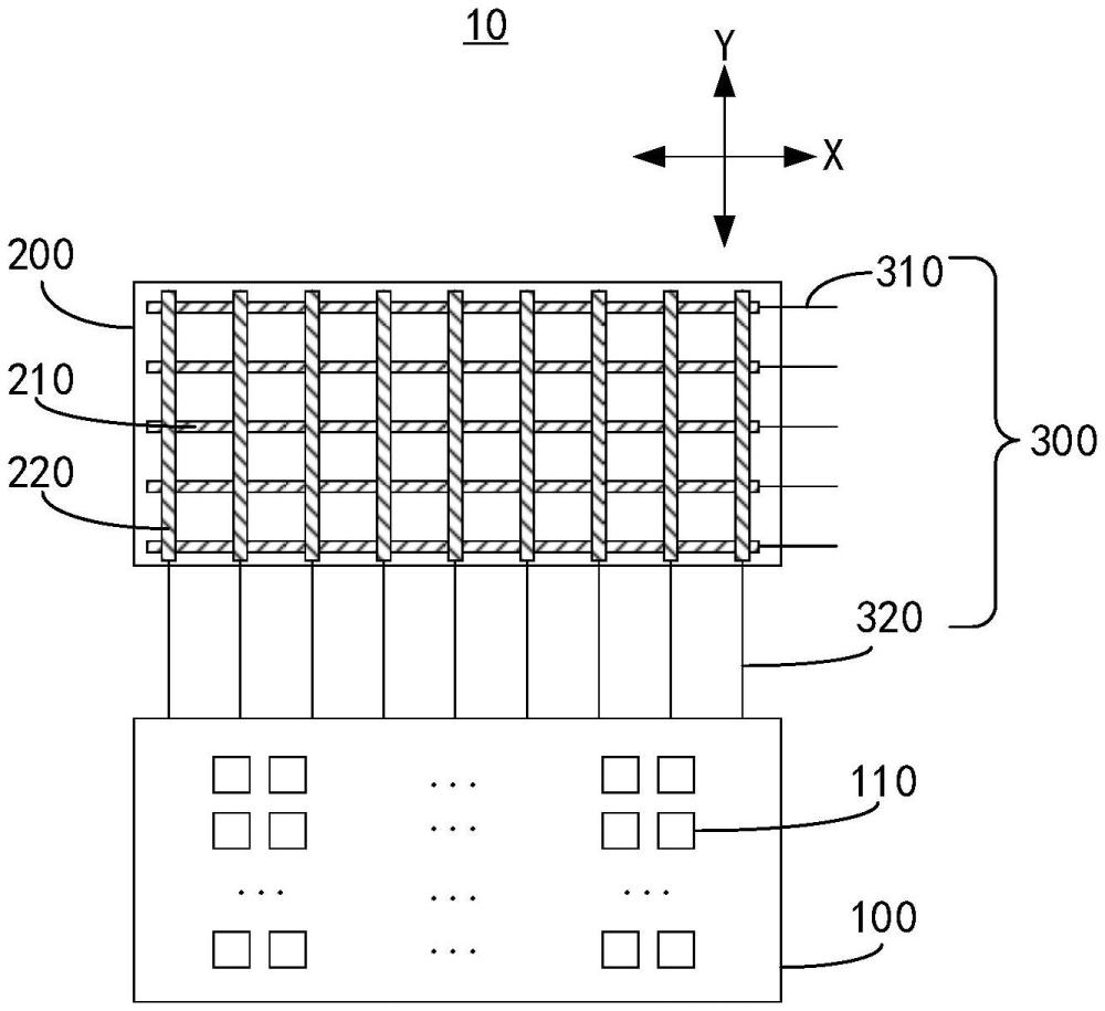
本申请公开了一种显示面板以及测试方法,显示面板包括:显示组件,包括像素单元;触控组件,包括第一触控电极以及第二触控电极,第一触控电极沿着第一方向延伸,第二触控电极沿着第二方向延伸,第一方向与第二方向相交;第一测试电路,包括第一信号线以及第二信号线,第一信号线与第一触控电极电连接,用于向第一触控电极输入第一测试信号,第二信号线电连接第二触控电极与像素单元。本申请的设计可以通过显示效果来确定触控功能是否异常。